⌚ LUNI - VINERI 9.00 - 17.00

TECE Element de fixare modul TECEprofil pentru instalarea variabila pe colt

TECE
140,20 RON
TVA inclus
 

PRODUS ACHIZITIONABIL PRIN S.E.A.P.

Click pentru detalii 
La comanda

Durata de livrare: 3 - 10 zile

Limita stoc
Adauga in cos
Cod Produs: 9380003 Ai nevoie de ajutor? 0373.760.413
Adauga la Favorite Cere informatii
  • Descriere
  • Caracteristici
  • Review-uri (0)
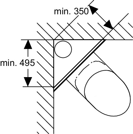
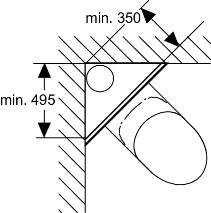
Element de fixare modul TECEprofil pentru instalarea variabilă pe colț

· Pentru montajul de colț al modulelor TECEprofil. Ansamblu de colț pentru economie de spațiu în colțuri, de exemplu montarea de țevi de scurgere, de țevi de aerisire sau de țevi de alimentare în spatele modulului. Se poate monta la toate modulele.

Compus din:

· Două accesorii de perete pentru montarea pe colț, cu unghi variabil;
· Material de montaj pentru prinderea de perete.
Informatii conformitate produs

Colectia: Profil Module

Daca doresti sa iti exprimi parerea despre acest produs poti adauga un review.

Review-ul a fost trimis cu succes.

Compara produse

Trebuie sa mai adaugi cel putin un produs pentru a compara produse.

A fost adaugat la favorite!

A fost sters din favorite!