⌚ LUNI - VINERI 9.00 - 17.00

GROHE Baterie cada Grohe Essence New pipa tip U montare pe podea, 1/2"'', monocomanda, include set de dus, pivotanta, o pulverizare, necesita corp instalare, crom

GROHE
5.225,25 RON
TVA inclus
PRODUS ACHIZITIONABIL PRIN S.E.A.P.

PRODUS ACHIZITIONABIL PRIN S.E.A.P.

Click pentru detalii
La comanda

Data de livrare: Joi, 01.01.1970

Limita stoc
Adauga in cos
Cod Produs: 23491001 Ai nevoie de ajutor? 0373.760.413
Adauga la Favorite Cere informatii
  • Descriere
  • Caracteristici
  • Review-uri (0)

Bateria de cada de la Grohe, cu un design elegant și modern, este alegerea ideală pentru orice baie contemporană. Cu un finisaj cromat strălucitor, acest produs nu doar că aduce un plus estetic, dar și o durabilitate excepțională, rezistând la uzura zilnică. Montarea pe podea oferă o flexibilitate excelentă în amenajarea spațiului, fiind perfectă pentru băile cu un stil deschis și aerisit. Sistemul de monocomandă permite ajustarea ușoară a temperaturii și a debitului de apă, garantând o experiență confortabilă în timpul băii.

Un alt aspect remarcabil al acestui produs este setul de duș inclus, care aduce un plus de funcționalitate și confort. Dușul pivotant oferă versatilitate, permițându-vă să direcționați apa exact acolo unde aveți nevoie. Cu o singură pulverizare, veți experimenta o baie revitalizantă, transformând rutina zilnică într-un moment de relaxare. Este ideal pentru cei care apreciază atât stilul, cât și confortul în fiecare detaliu al băii lor.

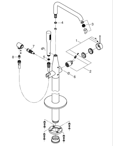
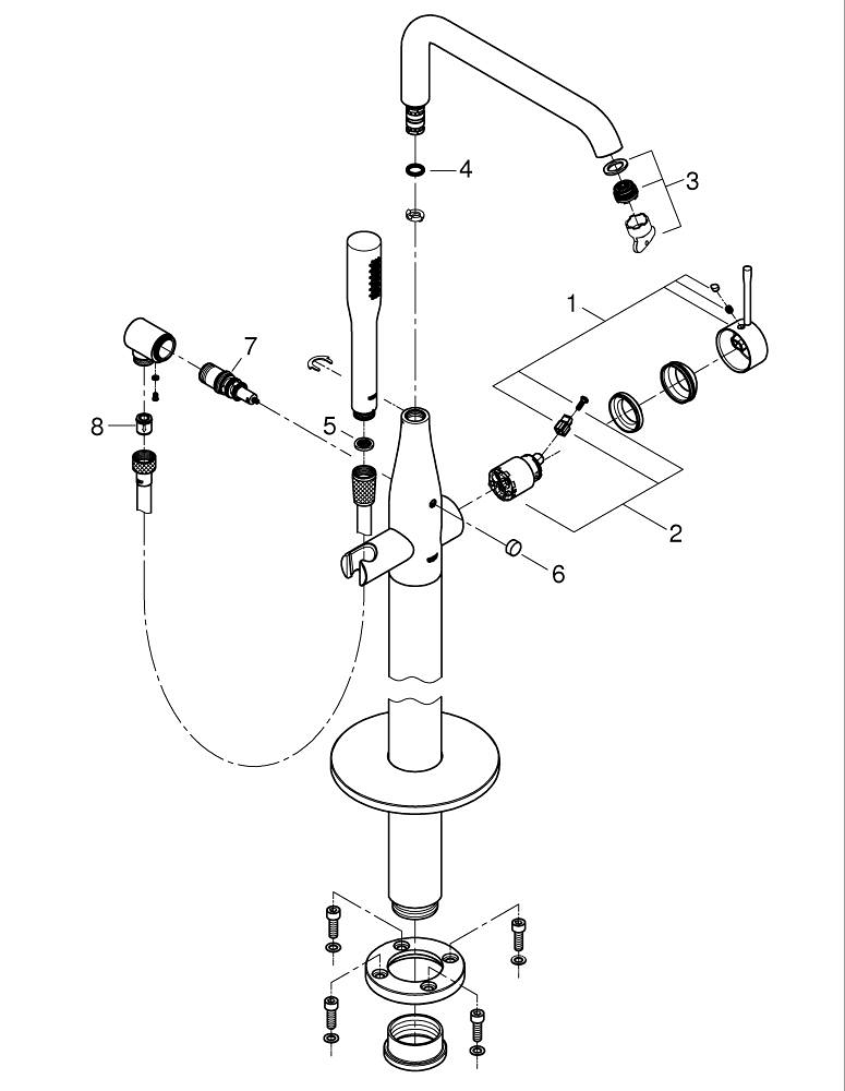
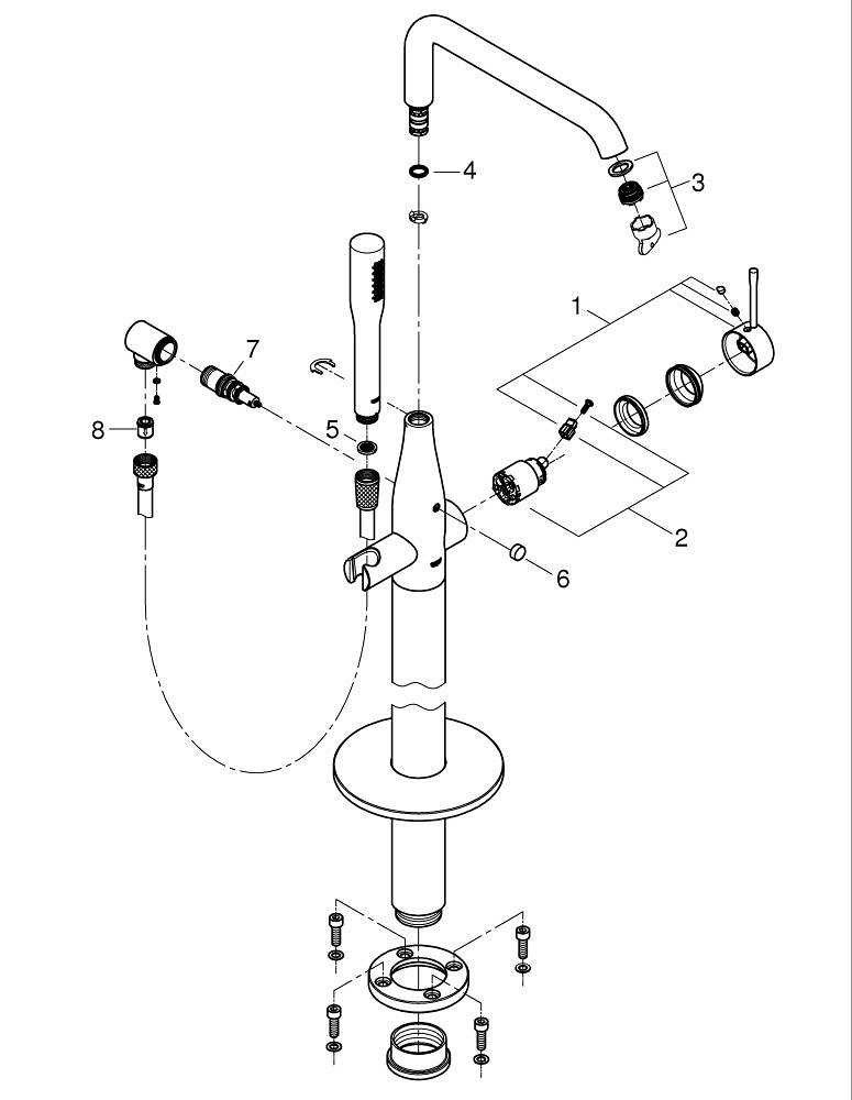
Caracteristici principale:

  • set pentru instalarea finală a codului 45 984
  • fără set de preinstalare
  • cartuş ceramic de 35 mm cu GROHE SilkMove
  • cu limitator de temperatură
  • suprafaţă GROHE LongLife
  • divertor cu revenire automată: cadă/duş
  • pipă rotativă cu aerator şi limitator de oprire
  • proiecție 277 mm
  • valve unic-sens integrate în ieşirea pentru duş de 1/2"
  • cu suport de duş
  • metal stick hand shower
  • furtun de duş Silverflex 1.250 mm (28 388)
  • protecţie împotriva refluxului
  • presiunea minimă recomandată 1.0 bar

Vezi mai mult Informatii conformitate produs

Tip produs: Baterie cada, dus

Tip montaj: Pe podea

Culoare: Crom

Actionare: Monocomanda

Daca doresti sa iti exprimi parerea despre acest produs poti adauga un review.

Review-ul a fost trimis cu succes.

Compara produse

Trebuie sa mai adaugi cel putin un produs pentru a compara produse.

A fost adaugat la favorite!

A fost sters din favorite!